Á¦Ç°¼Ò°³
²÷ÀÓ¾ø´Â ¿¬±¸ÅõÀÚ¿Í ±â¼ú°³¹ß·Î °í°´¸¸Á·À» µå¸®±â À§ÇØ ÃÖ¼±À» ´ÙÇÏ´Â ±â¾÷
ÁöÁßÀÚÀç Àü¹® Á¦Á¶¾÷ü (ÁÖ)¼º¿øÈÇÐ
- Ȩ
- Á¦Ç°¼Ò°³
- Àú¾ÐÁ¢¼ÓÇÔ ´©Àü¹æÁö Àý¿¬°í¹«ÆÇ
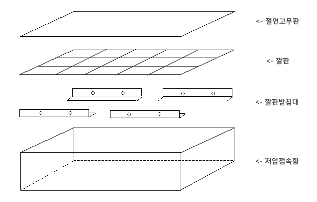
Àú¾ÐÁ¢¼ÓÇÔ ´©Àü¹æÁö Àý¿¬°í¹«ÆÇ
I - 1000 |
|||||||||||||||||||
![]() |
|||||||||||||||||||
I - 900 |
|||||||||||||||||||
![]() |
|||||||||||||||||||
¿ëµµ |
|||||||||||||||||||
| 600V ÀÌÇÏÀÇÀú¾ÐÁ¢¼ÓÇÔ ´©Àü¹æÁö¸¦ À§ÇÏ¿© Àú¾ÐÁ¢¼ÓÇÔ »óºÎ¿¡ ¼³Ä¡ÇÑ´Ù. | |||||||||||||||||||
Á¦Ç° ±Ô°Ý |
|||||||||||||||||||
| 1. °í¹«ÆÇ Á¾·ù ¹× ±Ô°Ý | |||||||||||||||||||
|
|||||||||||||||||||
| 2. ºÎ¼ÓÀÚÀç (±òÆÇ,¹Þħ´ë) Á¾·ù ¹× ±Ô°Ý | |||||||||||||||||||
|
|||||||||||||||||||
¼³Ä¡¿¹½Ãµµ¸é (I - 900) |
|||||||||||||||||||
![]() |


